Kuis
soal utakatikotak

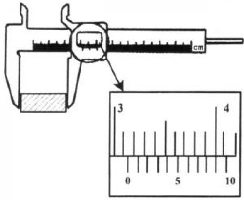
Sebuah balok diukur ketebalannya dengan jangka sorong. Skala yang ditunjukkan dari hasil pengukuran tampak pada gambar. Besarnya hasil pengukuran adalah :

utakatikotak
14
A
5,76 cm
B
Semua jawaban salah semua
C
3,19 cm
D
5,78 cm